愛あるセレクトをしたいママのみかた

Appleの「3D UI技術」「GoProライクなカメラ技術」に関する2特許が話題に

マイナビニュース
Appleの「3D UI技術」「GoProライクなカメラ技術」に関する2特許が話題に
米Appleが1月13日(現地時間)に獲得した特許が話題になっている。1つは手の動きで操作を行う3D UIに関するもので、同社が買収したPrimeSenseの技術の延長線にあると考えられる。もう1つはリモート制御が可能なカメラ技術で、おそらくはGoProライクなアクションカメラ等の用途を想定していると考えられている。

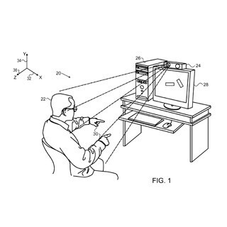
1つめは特許番号8,933,876で「Three dimensional user interface session control」の名称がつけられている。今回の話題を聞いて連想される3Dモーションセンサー技術としては、かつてMicrosoftがKinectで採用しており(現在は別の独自技術を利用)、2013年にAppleによって買収されたPrimeSenseがすぐに思い浮かぶだろう。

同特許の申請者として名前の挙がっている3人はともにイスラエルの技術者であり、おそらくはPrimeSenseの流れを汲んでいると予想できる。Apple自身もイスラエルに開発拠点を持っており、このような形で買収した企業や技術者の受け皿として機能している側面がある。そのため、今回の特許もまたこの過程でAppleの技術として取り込まれたものだと考えられる。


詳細はPatently Appleでも紹介されているが、モーションセンサーに対して行う手のアクションは3種類あり、1つはZ軸方向(前後)に手を動かすもの、2つめはX軸方向(左右)に手を動かすもの、3つめはY軸方向(上)に手を動かすものといった具合だ。それぞれが意味するものは操作対象となるアプリケーションによって異なると思われるが、メニュー画面移動や拡大縮小、メニュー選択、メニュー決定といった役割が与えられると考えられる。3Dモーションセンサーの形状や操作対象となるデバイスは特定されていないものの、主にデスクトップやTV関連での操作に利用されるのではないだろうか。

2つめは特許番号8,934,045で「Digital camera system having remote control」の名称がつけられている。いわゆるGoProがシェアを握っているアクションカメラの領域にAppleが興味を示していることの証左といわれる今回の特許だが、それは本文中の記載に確認することができる。カメラのリモート制御に加え、カメラモジュールをヘルメットやバイク等に固定するマウンターに関する説明があり、明らかにアクションカメラでの利用を想定したものになっているからだ。

Patently Appleの記事によれば、さらにいくつか興味深いポイントがあるという。1つは同社が2013年11月に米Eastman Kodakから買収した特許との組み合わせが可能なこと、そしてリモートコントロールに利用するデバイスやマウント対象となるカメラデバイスがiOSデバイスで代替可能な点だ。
例えばリモート制御に使うデバイスがApple Watchとなるケースも考えられれば、カメラ側のデバイスをiPhoneにすることも考えられる。

カメラデバイスは水中での利用も想定しており、場合によってはiPhoneを水中利用可能なオプションや、あるいはiPhoneそのものを水中利用可能にすることも検討しているのではないかという話も出ている。その意味では、いろいろ想像の膨らむ特許だといえるかもしれない。

提供元の記事

提供:

マイナビニュース

この記事のキーワード