愛あるセレクトをしたいママのみかた

米AppleのiPhoneをHMD化する特許が認可される

マイナビニュース
米AppleのiPhoneをHMD化する特許が認可される
米Appleが申請していた小型ディスプレイ搭載デバイスを使ったヘッドマウントディスプレイ(HMD)に関する特許が2月17日(現地時間)、米特許商標庁(USPTO)によって認められた。同特許はUSPTOのサイトで参照できる。似たようなアイデアはSamsungによって「Gear VR」の名称ですでに商品化が行われており、Appleがこうした仕組みにどの程度興味を持ち、何を考えているのかが注目ポイントとなる。

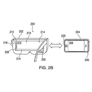
今回認められた特許は申請番号が8,957,835で「Head-mounted display apparatus for retaining a portable electronic device with display」の名称がつけられている。特許の最初の申請日は2008年9月30日と古く、2世代目にあたるiPhone 3Gが発売されてすぐのタイミングにあたる。そのため、iPhoneだけでなくiPod touchなどのデバイスの利用も想定していた可能性がある。

一方で、これだけiPhoneの普及台数と機能面での差異が特許申請当時から現在において非常に大きく、想定しているユースケースについてもGear VRなどのそれとは大きく異なっている可能性が高い。実際、特許で示されているものもデバイス(iPhone)とグラス型マウンターとの"電気的"な接続方法や、外部コントローラ(Apple Remoteのようなもの)による制御方法、Picture-in-Pictureのような形で複数のアプリを同時に実行して閲覧する方法など、純粋に映像を楽しむための視聴デバイスとしての"HMD"に着目しているように見える。


これに対し、SamsungのGear VRはマウンターそのものは単なる「デバイスを固定するための箱」であり、Galaxy Note 4をはめ込むことで視点を調整する役割を果たしているに過ぎない。

Gear VRは「Oculus Rift」を多分に意識したもので、実際にOculusとのコラボで実現したものだ。Oculusではデバイスの装着者が頭を動かすと、モーションセンサーがそれを検知して移動量や向きに応じて視点が変更される特性があり、非常に没入感が高い。例えばゲームであれば実際にゲームの世界で行動しているような感覚を味わえ、環境映像や映画コンテンツと連動させた場合、頭を動かすことで固定視点の映像では見られない風景が目に入ったりといろいろ応用が期待されている。最近のスマートフォンの場合、このOculusのようなVR(仮想現実)の世界を体験するのに十分なセンサーやスペックを備えており、Gear VRはそれを実践したものだ。これが、今回のApple特許が申請から認可までの6年半で業界で起きた、大きな変化だといえるかもしれない。

提供元の記事

提供:

マイナビニュース

この記事のキーワード